Disney Files Patent for a New Lightsaber Toy With a Retractable Saber Blade

The Walt Disney Company has filed for a patent for a new lightsaber toy that is described as a “Sword Device with Retractable, Internally Illuminated Blade.

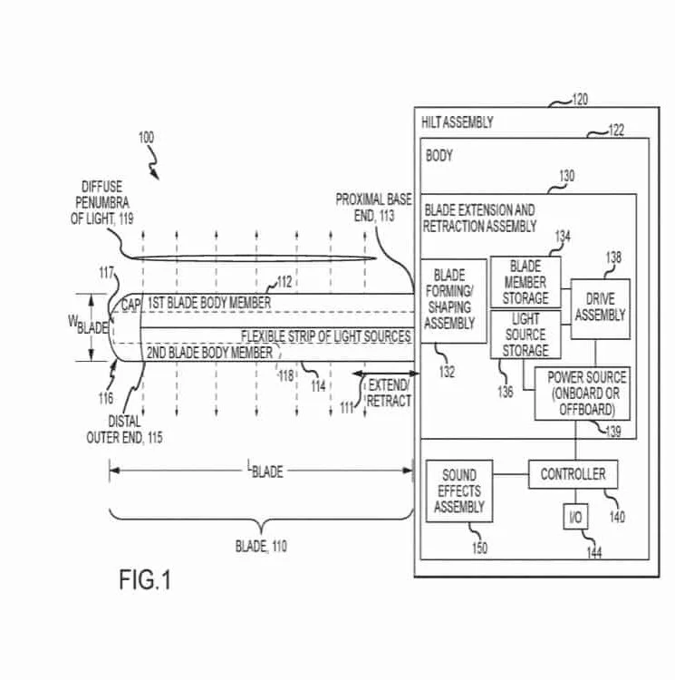
This sounds like it will be the most most realistic lightsaber toy yet! The hilt of the lightsaber will include mechanics that work like a motorized tape measure. It’s explained that with the press of a button, “the tapes will extend to a total length several times that of the hilt itself. The tapes will also have some kind of LED lighting inside, such that the lightsaber can light up similar to the way they appear in the films.”

It’s explained that the same mechanics that are used to eject the blade will also be used in reverse to retract the blade. “The LEDs will be affixed to a tape that retracts onto a spool as the lightsaber blade retracts.”

There will also obviously be built-in sound effects because you can’t have a proper lightsaber toy with out the cool sounds that a lightsaber makes! WDWNT went on to say:

This new and improved lightsaber has the potential to be the most realistic lightsaber available to date, and will likely command a premium price. In fact, the new invention is a significant improvement on the current collector’s models of lightsabers that are more delicate than the cheap toys sold in the parks, so this new version may likely be sold as a collector’s item rather than a toy for kids.

The lightsabers will most likely be made available at the Star Wars: Galaxy’s Edge attraction that is currently under construction that the Disney theme parks.

Hey, if this turns out as cool as it sounds, I don’t care how much it costs! I’ll buy one!

GeekTyrant Homepage